行业领先连接器及连接器组件供应商-西安中辉信达电子科技有限公司
138 13097889
网站地图
RSS订阅
首页
关于我们
公司简介
企业文化
资质荣誉
产品中心
推拉自锁系列
国军标系列
国军标-YLH
国军标-YGD
国军标-Y50X
国军标-Y50EX
国军标-XCD
国军标-XC158
J599
W深水系列
M5、M8、M12系列
防尘盖
线束定制
针孔定制
附件
新闻动态
公司新闻
行业动态
服务支持
常见问题
下载中心
应用领域
检测与测量
医疗电子
科研
通信
军工通讯
联系我们
查找历史
热门标签
F系列
F Series
推拉自锁系列
B系列
K系列
F系列
FX差分系列
U系列
T系列
S系列
国军标系列
国军标-YLH
国军标-YGD
国军标-Y50X
国军标-Y50EX
国军标-XCD
国军标-XC158
J599
W深水系列
M5、M8、M12系列
防尘盖
线束定制
针孔定制
附件
联系方式
西安中辉信达电子科技有限公司
地址
陕西省西安市未央区未央路33号印象城购物中心7幢1505室
电话
138 13097889
网址
www.zhxd-link.com
首页
/
产品中心
/
推拉自锁系列
/
F系列
/
F系列插座DH1
联系我们
产品咨询
产品详情
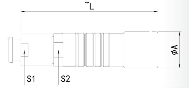
型号
系列
A
L
S1
S2
最小
最大
DH1
0F
9.5
35.5
7
7
3.2
5.2
DH1
1F
12.5
40.5
9
9
4.2
7.2
DH1
2F
16.5
47.0
13
12
5.2
10.2
其他F系列
TYN
TYN
F系列插头TD1
F系列插头TD1
F系列插座MH1
F系列插座MH1
F系列插座DS1
F系列插座DS1
F系列插头TL1
F系列插头TL1
F系列插头TM1
F系列插头TM1
F系列插座ME1
F系列插座ME1
JX-DC
JX-DC
0.407622