行业领先连接器及连接器组件供应商-西安中辉信达电子科技有限公司
138 13097889
网站地图
RSS订阅
首页
关于我们
公司简介
企业文化
资质荣誉
产品中心
推拉自锁系列
国军标系列
国军标-YLH
国军标-YGD
国军标-Y50X
国军标-Y50EX
国军标-XCD
国军标-XC158
J599
W深水系列
M5、M8、M12系列
防尘盖
线束定制
针孔定制
附件
新闻动态
公司新闻
行业动态
服务支持
常见问题
下载中心
应用领域
检测与测量
医疗电子
科研
通信
军工通讯
联系我们
查找历史
热门标签
防尘盖
Dust cover
推拉自锁系列
B系列
K系列
F系列
FX差分系列
U系列
T系列
S系列
国军标系列
国军标-YLH
国军标-YGD
国军标-Y50X
国军标-Y50EX
国军标-XCD
国军标-XC158
J599
W深水系列
M5、M8、M12系列
防尘盖
线束定制
针孔定制
附件
联系方式
西安中辉信达电子科技有限公司
地址
陕西省西安市未央区未央路33号印象城购物中心7幢1505室
电话
138 13097889
网址
www.zhxd-link.com
首页
/
产品中心
/
防尘盖
/
K系列插头防尘盖
联系我们
产品咨询
产品详情
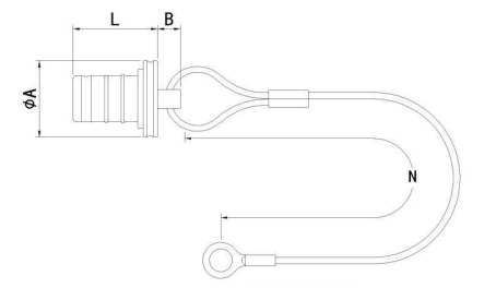
型号
系列
A
L
B
N
BRE.0F.200.NAS
0F
10
12.8
4
85
BRE.1F.200.NAS
1F
14
13.7
3.5
85
BRE.AF.200.NAS
AF
14
13.7
3.5
85
BRE.2F.200.NAS
2F
18
14.0
5.0
120
其他防尘盖
K系列插头防尘盖
K系列插头防尘盖
B-S系列插座防尘盖
B-S系列插座防尘盖
F系列插头防尘盖
F系列插头防尘盖
B-S系列插头防尘盖
B-S系列插头防尘盖
K系列插头防尘盖
K系列插头防尘盖
0.392144